
YFG型法蘭過濾器廣泛用于蒸汽、空氣、水、油品等多種介質的管線中;此類過濾器保護管線系統各種設備、水泵、閥門等;免受管道同、鐵銹、焊渣等雜質。帶來的阻塞和損壞。
抗污性強,排污方便;流通面積大,壓力損失??;結構簡單,體積小。重量輕。
濾芯網材質。均為全不銹鋼制作。耐腐蝕性強。使用壽命長。
過濾網密度:為l0—120目,介質:蒸汽、空氣、水、油品、或根據用戶要求定做。
伸縮型特點:拉伸長度。最大位置可移伸100mm。有利于安裝方便。提高工作效率。
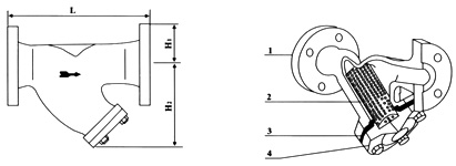
要主零件部件材料表 | Code 序號 | Parts 零件名稱 | Materials 材料 |
---|---|---|---|
1 | Bodv 閥體 | CarbonsteelStainlessSteel 碳鋼、不銹鋼 | |
2 | Filter Core Net 濾芯網 | Stainless Steel 不銹鋼 | |
3 | Gasket 墊片 | Metal graphite 金屬石墨 | |
4 | Gauze Filter Cap 濾網蓋 | CarbonsteeIStainlessSteel 碳鋼、不銹鋼 |
Model 產品型號 | Nominal Diameter(DN) 公稱通徑 | Connection 連接方式 | Nominal Pressure fMPa) 公稱壓力 | Max.Allowable TMP(℃) 最高允許溫度 | External Dimensions(mm)外形尺寸 | ||
---|---|---|---|---|---|---|---|
L | H1 | H2 | |||||
YFG | 15—20 25 | Flange法蘭 | 1.6—4.0 | 425 | 160 150 | 53 58 | 70 95 |
YFG | 32 | Flange法蘭 | 1.6—4.O | 425 | 1 80 | 73 | 120 |
YFG | 40 | Flange法蘭 | 1.6—4.0 | 425 | 200 | 75 | 1 35 |
YFG | 50 | Flange法蘭 | 1.6—4.0 | 425 | 230 | 80 | 1 65 |
YFG | 65 | Flange法蘭 | 1.6—4.0 | 425 | 270 | 93 | 1 80 |
YFG | 80 | Flange法蘭 | 1.6—4.O | 425 | 290 | 1 00 | 1 89 |
YFG | 1 00 | Flange法蘭 | 1.6—4.0 | 425 | 310 | 1 1 0 | 235 |
YFG | 125 | Flange法蘭 | 1.6—4.0 | 425 | 400 | 125 | 280 |
YFG | 1 50 | Flange法蘭 | 1.6—4.0 | 425 | 430 | 143 | 345 |
YFG | 200 | Flange法蘭 | 1.6—4.O | 425 | 500 | 170 | 410 |
YFG | 250 | Flange法蘭 | 1.6—4.0 | 425 | 590 | 203 | 610 |
YFG | 300 | Flange法蘭 | 1.6—4.0 | 425 | 650 | 230 | 690 |
YFG | 350 | Flange法蘭 | 1.6—4.0 | 425 | 700 | 255 | 780 |
dgfmjt@163.com
021-66861950
上海市金山區亭林鎮亭朱公路1918號