
D41手柄法蘭式軟密封蝶閥具有結構簡潔,流阻系數小,流量特性趨于直線,不會滯留雜物,且重量輕,安裝方便,驅動扭矩較小的優點。這種閥門既可作切斷介質用,又可作調節介質的流量用。選用不同材料的零件,配用不同材料的密封圈,可適應不同的介質、工況,使成本與性能達到最佳效果,D41X手柄法蘭式軟密封蝶閥廣泛適用于溫度≤120℃,公稱壓力≤1.6MPa給排水、污水、食品、供暖、燃氣、船舶、水電、冶金、能源系統以及輕紡等行業,特別適用于雙向密封和閥體易銹蝕場合,作調節流量和截流介質。
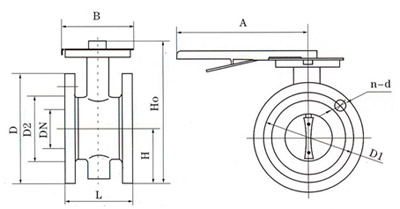
結構示意圖
D41X/J-(6.10.16)Z.Q.C.P.R系列連接尺寸
公稱通徑 | 結構長度(標準值) | 外形尺寸(參考值) | 連接尺寸(標準值) | 參考重量 | |||||||||||||||
---|---|---|---|---|---|---|---|---|---|---|---|---|---|---|---|---|---|---|---|
0.6MPa | 1.0 MPa | 1.6 MPa | |||||||||||||||||
毫米 | 英寸 | L | H | Ho | A | B | D | D1 | D2 | n-d | D | D1 | D2 | n-d | D | D1 | D2 | n-d | |
50 | 2 | 108 | 82.5 | 238 | 270 | 65 | 140 | 110 | 88 | 4-14 | 165 | 125 | 99 | 4-18 | 165 | 125 | 99 | 4-18 | 8.5 |
65 | 21/ | 112 | 92.5 | 258 | 270 | 65 | 160 | 130 | 108 | 4-14 | 185 | 145 | 118 | 4-18 | 185 | 145 | 118 | 4-18 | 9.5 |
80 | 3 | 114 | 100 | 278 | 270 | 65 | 190 | 150 | 124 | 4-18 | 200 | 160 | 132 | 8-18 | 200 | 160 | 132 | 8-18 | 11 |
100 | 4 | 127 | 110 | 293 | 270 | 65 | 210 | 170 | 144 | 4-18 | 220 | 180 | 156 | 8-18 | 220 | 180 | 156 | 8-18 | 15 |
125 | 5 | 140 | 125 | 309 | 310 | 65 | 240 | 200 | 174 | 8-18 | 250 | 210 | 184 | 8-18 | 250 | 210 | 184 | 8-18 | 21 |
150 | 6 | 140 | 142.5 | 336 | 310 | 65 | 265 | 225 | 199 | 8-18 | 285 | 240 | 211 | 8-22 | 285 | 240 | 211 | 8-22 | 24 |
dgfmjt@163.com
021-66861950
上海市金山區亭林鎮亭朱公路1918號