
公司生產銷售的氣動V型調節球閥具有特殊形狀的固定式V型切口球體和可調金屬閥座結構,當閥關閉時,V型切口與閥座形成楔形剪切作用,可防止球體和閥座之間污物產生的卡死現象,具有自清結功能,特別適用于含纖維料漿,污水和粘性顆粒的介質,配以閥門定位器可實現連續調節,并且流阻小,調節范圍廣,是一種用途廣泛,高質量的調節閥。
氣動V型調節球閥 V671H(F)-16
氣動V型調節球閥是一種直角回轉結構的高級控制閥,它與閥門定位器配套使用,可實現比例調節;與二位五通電磁閥及控制箱配套使用,可實現開關控制。氣動V型球閥閥芯設計成帶有特殊形狀的V型缺口,具有精確的截流物性和控制功能,適用于各種控制場合,結構緊湊,體積小,可緊臥安裝等優點。氣動V型調節球閥適用于氣體、液體、固態顆粒狀介質的控制。由于閥芯和閥座之間是無間隙回轉,所以具有很大的剪切力及自潔性能,尤其適用于含有纖維性或有微小固體顆粒的懸濁液及固態顆粒狀的控制。因此氣動V型球閥本產品可廣泛用于石油、化工、造紙、化纖、電力、冶金、制藥、環保等工業部門的自控系統。
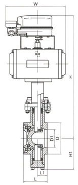
主要外形和連接尺寸 單位Unit:(mm)
VQ671H-16 | ![]() | ||||||||
---|---|---|---|---|---|---|---|---|---|
通徑DN | L | L1 | D | D1 | H1 | H | W | ||
mm | in | ||||||||
25 | 1″ | 50 | 25 | 64 | 38 | 57 | 330 | 140 | |
40 | 1 1/2″ | 60 | 25 | 82 | 49 | 63 | 375 | 164 | |
50 | 2″ | 75 | 32 | 100 | 60 | 92 | 398 | 190 | |
65 | 2 1/2″ | 85 | 38 | 120 | 75 | 100 | 408 | 210 | |
80 | 3″ | 100 | 45 | 131 | 89 | 108 | 450 | 247 | |
100 | 4″ | 115 | 50 | 158 | 113 | 117 | 465 | 276 | |
125 | 5″ | 135 | 55 | 180 | 140 | 140 | 525 | 348 | |
150 | 6″ | 160 | 65 | 216 | 164 | 177 | 578 | 378 | |
200 | 8″ | 200 | 80 | 268 | 205 | 200 | 650 | 432 |
dgfmjt@163.com
021-66861950
上海市金山區亭林鎮亭朱公路1918號